常見問題解答
1.DN值定義為何?DN值的安全極限?DN值定義
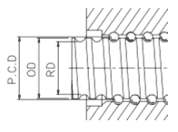
以DmN值來評定滾珠絲杠高速性,Dm為滾珠絲杠上下滾珠之中心圓直徑(P.C.D),N為絲杠大回轉數,所以DmN值即表示滾珠之公轉速度,DmN值即為該滾珠絲杠的設計高速極限。為方便計,以絲杠外徑D取代Dm。以50ψx 30 滾珠絲杠而 言,當絲杠大回轉數為3000rpm時,DN值可達15萬,大進給速度為 90 m/min。


2.高DN值與高導程的應用差異性為何?


高DN值 : 回轉數與導程之有效平衡考量如精度、動靜負荷、臨界速度、 慣性力誘發振動、溫升等高速化引發的問題。
5.自潤式滾珠絲杠之比較




特性 高碳合金鋼含碳量達0.45%以上,適合感應熱處理,能使材料具有良好的表面硬度及表面耐磨耗性,滾珠絲杠因此具有優良的使用壽命;同時由于材料的心部未麻田散鐵化而保持變韌鐵組織,抗拉強度高而韌性強,故絲杠不易因為沖擊性的負荷而發生斷裂。

7.螺母材質及特性如何?



8.滾珠絲杠的預壓產生方式有哪幾種設計?其差異為何?
A. 1.單螺母預壓:(包含過大鋼珠預壓方式、導程偏移預壓方式)
2.雙螺母預壓:(包含:拉伸預壓方式、壓縮預壓方式)
B. 1.過大鋼珠預壓方式:(以鋼珠大小,調整預壓)


4.壓縮預壓
特征:由較薄的預壓片,再以螺栓將兩螺母鎖緊一起,達到預壓之效果。
鋼珠:62~66HRC
10.滾珠絲杠何時需要預壓?預壓對有何優缺點?
A.機器精度要求高,而機器的背隙上限值小的時侯(如配合直線導軌使用可以使機器的反向運動背隙接近于零)。缺點: 降低機械效率,預壓若過大會產生溫升問題及壽命降低,所以滾珠絲杠的預壓必須設定在一合理范圍內。
用于高速且重負載的時后,必須以強制冷卻來降低溫度,且可藉由中空絲杠通入冷卻油或水來達到冷卻效果。


B. 設計考慮因素:1.空間考量。2.注油位置好于法蘭上方或上方45度角位置,以提供注油的好效果(油品可以由于重力而進入螺母內部)。
13.何謂靜負荷?滾珠絲杠在靜止狀態,滾珠和軌道接觸面都不致產生大于萬分之一(0.0001)鋼珠直徑之塑性變形量時, 滾珠絲杠之大可承受負荷。
14. 高防塵滾珠絲杠的使用時機為何?HIWIN特殊設計的高防塵滾珠絲杠,使用多層防塵材料緊密包覆絲杠,所以塵屑不易進入,而能達到高防塵效果;其適用在較高塵屑的工作環境,例如:木工業、橡塑膠…等。
15. 什么時機應設計配珠?配珠有何優缺點?
A. 設計時機:于機構空間不足使用單螺母預壓方式時,為了提升其動作特性,一般建議以1:1配珠。
B. 優點:能提升其動作特性,減少相鄰鋼珠間之相互摩擦。缺點:減低絲杠動負荷。
16.絲杠中空使用時機為何?有何優點?
A. 一般較適合于絲杠溫升要求較嚴格的機器。使用中空絲杠,由于可以通油或水來冷卻絲杠,故絲杠本身不易發熱,可有效控制溫度,達到精度穩定目的。
B. 中空滾珠絲杠具有重量減輕之優點,因此絲杠比較不易因自重而下垂過大,而且由于絲杠之慣量減少,使馬達之驅動扭力降低;另一方面,由于絲杠的中空部份可以使冷卻劑流經而達到降低絲杠溫度之用,因此絲杠的溫度可以得到較佳的控制。17. 滾珠絲杠安裝時應注意那些事項?深圳市海威機電有限公司
咨詢熱線
0755-82112558 136-3151-6816
掃描二維碼進行咨詢